Неважно какая модель посудомоечной машины представляет собой довольно сложное устройство, которое способно облегчить каждодневный труд на кухне. На данный момент существует неограниченное количество схожей техники, отличающейся между собой по техническим чертам и функциональности. Но существует одна принципиальная общая черта, которая соединяет воединыжды посудомоечные агрегаты разных производителей, – принцип их работы. Что все-таки происходит изнутри таковой техники? Как работают машины Аристон, Бош, Электролюкс и продукция других брендов?

Как работает снутри?
Что прячется снутри посудомоечной машинки?
Зная, как работает посудомойка, хозяйке будет существенно проще установить все плюсы применения схожей техники в сопоставлении с ручной чисткой посуды.
Схожий тип домашней техники отличается сложным устройством изнутри. Главным элементом устройства является выполненный из металла бак, имеющий прямоугольную форму. Конкретно в нем и происходит конкретная чистка загруженной в машину посуды. Делается такая деталь в промышленных критериях из качественной нержавеющей стали, которая способна выдерживать неизменное воздействие хим моющих составов и воды.

Конструкция посудомоечной машины подразумевает наличие следующих частей:
- коромысла;
- корзины, произведенной из пластика, для фиксации тарелок, стаканов и различных столовых устройств;
- дозаторов, в которые заливаются моющие составы;
- фильтра;
- емкости, в которую засыпается особая соль, способная смягчать воду.
Фактически все посудомоечные машинки, такие как Аристон, Bosch или Электролюкс, оснащаются 2-мя выдвижными корзинами, расположенными на нижнем или верхнем уровне. Располагать посуду в них следует зависимо от ее габаритов и форм. Такие элементы техники являются съемными, что дает возможность в случае необходимости растягивать их для чистки. Также фактически все модели машинок оснащаются дополнительной корзиной из метала или коробом для закладки столовых устройств.

Находящиеся на фронтальной дверцы дозаторы, показанные на рисунке, предназначаются для закладки особых жестких моющих капсул и водянистых составов, которые умеренно расходуются в процессе работы посудомоечной машины.
Еще одним принципиальным внутренним элементом схожей техники является коромысло, представленное в виде сделанной из пластмассы трубки, которая отвечает за разбрызгивание воды. А сбор остатков еды, оставшихся после чистки, делает фильтр, имеющий маленькую сеточку.
Как работает посудомоечная машина изнутри?
Приобретая посудомоечную машину, далековато не все знают, как конкретно работает схожая техника снутри. Функционирование таких агрегатов не представляет собой очень непростой процесс, но некоторые аспекты все таки есть.

Цикл работы фактически хоть какой современной посудомоечной машинки состоит из следующих главных процессов:
- Конкретная загрузка в агрегат стаканов, тарелок и других столовых принадлежностей в специально созданные для данных целей железные корзины.
- Выбор нужного режима работы, также закладка моющих составов или особых очистительных капсул.
- Закачка воды в бак машинки.
- Нагрев воды до подходящего температурного режима, который определяется избранной программкой чистки. Происходит данный процесс благодаря крепким нагревателям или обыденным элементам ТЭН.

Главные особенности функционирования посудомоечной техники
Используя посудомоечную машину Бош или агрегат другого производителя, стоит выяснить о некоторых особенностях их работы:
- Моющий состав попадает вовнутрь машинки в согласовании с установленной программкой в автоматическом режиме. При всем этом процесс распыления воды, дополненной хим средством, происходит средством особых трубок, которые находятся в верхней или нижней части устройства.
- Более эффективную чистку посуды обеспечивает коромысло, при вращении которого вода под огромным напором разбрызгивается в разных направлениях. Как режим мытья будет окончен, машинка Bosch автоматом перейдет на шаг полоскания и сушки посуды.

- Зависимо от модели посудомоечной машины, шаг сушки может происходить разными методами – турборежим (посуда обдувается жарким воздухом), конденсация (насыщенное испарение с вымытой посуды воды).
Какая бы посудомоечная техника ни была выбрана, принцип ее работы, показанный на видео, будет происходить фактически идиентично. Наличие дополнительных функций только улучшает стандартные процессы мытья посуды.
Как отремонтировать посудомоечную машину своими руками

Посудомоечная машина есть фактически в каждом доме – этот маленький агрегат существенно упрощает работу на кухне, сберегая наше время и силы на мытье и сушке посуды. Но, как и неважно какая домашняя техника, даже самая высококачественная посудомойка с течением времени начинает давать сбои. К счастью, большая часть дефектов, которые могут появиться в процессе её эксплуатации, можно убрать без помощи других, не вызывая мастера. Почти всегда они связаны с износом главных узлов и деталей, также последствиями неверного режима работы. В любом случае, разобраться с устройством и механизмом работы домашней посудомойки очень даже стоит. Это освободит вас от излишних издержек на услуги сервисного центра и мытья посуды вручную вследствие долгого простоя вышедшего из строя агрегата.
Устройство посудомойки
Конструктивное выполнение бытовых посудомоечных агрегатов почти во всем схоже с сборкой стиральных машин. Основная разница заключается в отсутствии у посудомойки вращающегося барабана и наличии ряда специфичных функций, обеспечивающих процесс мытья посуды.
Разновидности бытовых посудомоечных машин на рисунке
С внутренним устройством посудомоечной машины можно ознакомиться, открыв её переднюю стену. В перечень главных узлов и компонент агрегата входят:
- Панель управления.
- Плата с микропроцессором.
- Электродвигатель.
- Дозатор.
- Воздушный тракт сушилки.
- Турбовентилятор.
- Верхняя и нижняя корзины.
- Корзина для столовых устройств.
- Верхнее и нижнее коромысло.
- Нагнетательный насос.
- Система фильтров и смягчитель.
- Поддон и мелкие камешки.
- ТЭН.
- Противовес.
- Конденсатор.
- Клапан подачи воды.
- Верхний и нижний (боковой) распылители.
- Контейнер для моющих средств.
- Поплавковый регулятор.
- Ионообменник.
- Ёмкость для соли.

Внутреннее устройство посудомоечной машины
Основой посудомойки служит герметичный железный корпус, покрытый изнутри нержавеющим составом, нечувствительным к скачкам температуры и брутальному воздействию моющих средств и оснащённый звуко- и теплоизоляцией. Панель управления размещается на лицевой стене машины. Она состоит из таймера (микроконтроллера), кнопок управления и индикаторного монитора.

Панель управления посудомоечной машины
Распылительные блоки (крыльчатка) состоят из системы трубок и распылителей. Через них во внутреннее место машины под давлением подаётся подогретая вода с моющим средством, что обеспечивает высочайшее качество чистки и мытья посуды.

Распылитель крыльчатки посудомойки
Поплавковый выключатель посудомойки представляет собой основное средство защиты от протекания. Сливной же узел имеет конструкцию, аналогичную сливу в стиральных машинах.
И одним из основных компонент посудомойки является водяная помпа, которая устанавливается вместе с электродвигателем. Более принципиальна и система фильтрации – она служит для вылавливания остатков еды и остального мусора.
Механизм работы и реализация главных функций
Механизм работы посудомоечной машины
Работа посудомоечной машины укрыта от глаз. Вы просто укладываете грязные тарелки и столовые приборы в корзины, добавляете моющее средство, закрываете переднюю стену и включаете кнопку «Пуск». Но знать, что происходит снутри агрегата, когда он моет посуду, совершенно не помешает – это дозволит для вас еще резвее найти причину сбоев и хорошо их убрать.
Работа посудомойки осуществляется по следующему методу:
- Стартовый слив воды.
- Залив воды.
- Старт мойки.
- Добавление моющих средств.
- Обогрев воды.
- Мойка посуды.
- Слив воды.
- Залив воды для ополаскивания.
- Ополаскивание.


Посудомойка с конденсационным типом сушки
Программы мойки – последовательности инструкций, выполняемых процессором — отличаются такими параметрами, как:
- наличием либо отсутствием функции подготовительного замачивания;
- степенью обогрева воды (50-75 о С, время от времени выше);
- временем выполнения программы.

Программатор посудомоечной машины с процессором
Работа посудомоечной машины с реализацией функций избранной вами программы мойки осуществляется в следующем порядке:
- Процессор инспектирует закрытие двери и подаёт команду промывки сливному насосу.
- После остановки насоса осуществляется набор свежайшей воды, уровень которой контролируется особым датчиком.
- Врубается циркуляционный насос, который создаёт снутри корпуса давление, вода поступает на крыльчатку, которая под напором начинает крутиться. Тем временем раскрывается дозатор и в моющее средство попадает во внутреннее место машины.

Циркуляционный насос посудомоечной машины

Сливной насос посудомоечной машинки
Постоянное сервис посудомойки

Сервис посудомойки: стадия чистки
Пользуясь кухонным оборудованием каждый денек, поневоле научишься различать как оно работает – исправно либо с какими-то сбоями. И далековато не все из последних бывают связаны с очевидными проблемами в самой технике.
Если ваша посудомойка делает свою работу некачественно, полностью может быть, что вы просто нарушаете режим эксплуатации.
Об этом свидетельствуют:
Разводы возникают в этом случае, если юзер загрузил очень много ополаскивателя либо соли. Грязные потёки молвят об оборотном – в данном случае стоит прирастить дозу моющего средства.

Переизбыток моющего средства
- Нехороший слив использованной воды
Остатки еды на деньке посудомойки и на самой посуде – признак засорения фильтров. Производители советуют прочищать их чуть ли не после каждой мойки, за ранее слив остатки воды из системы.
- Низкое качество чистки посуды от остатков еды.
Неважно какая, даже самая отменная посудомойка чуть ли управится с основательно пригоревшей либо издавна не мытой посудой – в данном случае перед загрузкой в машину следует незначительно поработать руками.

Перед загрузкой: ручная чистка пригоревшей кастрюли
Если пены очень много, означает ополаскиватель загружен далековато сверх нормы. Просто настройте дозатор машины либо добавляйте чуток больше порошка – хорошего пеногасителя.

Остатки пены после мойки
Причинами неудовлетворительной чистоты посуды после мойки также могут быть:
-
неверное размещение посуды во внутреннем пространстве посудомойки – вода не попадает на все поверхности;

Верная установка посуды в посудомойке
Диагностика и устранение дефектов
Если вы убеждены в том, что строго придерживались режима эксплуатации и даже после проверки и выполнения всех нужных сервисных процедур машина всё равно работает очень плохо либо совсем отрешается мыть посуду – вероятнее всего, это значит наличие технических дефектов.
Диагностика и устранение дефектов, вследствие которых работа машины невозможна:
- Машина не врубается либо бьёт током

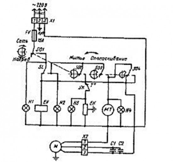
Электрическая схема обычной посудомоечной машины

Фильтр посудомоечной машины

ТЭН посудомоечной машины проточного типа
Если сгорела плата посудомойки, отремонтировать её можно будет исключительно в мастерской — для этого пригодятся особые познания, инструмент и практические способности.
Почти всегда программатор подлежит подмене, но это может серьёзно стукнуть по кармашку. Потому стоит поинтересоваться относительно удачного опыта ремонта плат бытовых посудомоек у знакомых умельцев.
Что делать, если посудомойка плохо работает?
Если для вас всё же удалось запустить агрегат, но разумеется, что работает он некорректно либо не делает свои функции, самое пристальное внимание следует направить на следующие моменты:
- Стуки и другие посторонние звуки при работе техники
Следует проверить целостность подшипников распылителей. Также могут стучать подшипники основного либо сливного насосного блока. 1-ый работает временами, закачивая воду в систему, 2-ой – в конце каждого цикла.
- Вода не поступает в рабочую камеру
Если фильтр и шланг подачи воды ни при чём, вероятнее всего, виновником неисправности является сломавшийся впускной клапан, который необходимо поменять.

Впускной клапан посудомойки
- Не работает выключатель давления
С этой детали необходимо снять клеммы и прочистить патрубок, к которому подходит пластмассовая трубка давления – исправный выключатель, срабатывая, издаёт негромкий щелчок.
- Машина останавливается среди цикла
Предпосылкой тому в большинстве случаев бывает неисправный насос. Но до этого следует проверить рециркуляционные фильтры, тракт забора воды, водонагреватель либо термореле.

Циркуляционный насос посудомоечной машины
- Посуда умывается холодной водой
Вероятнее всего, в вашей машине нет термодатчика, потому её программатор не увидел того, что ТЭН либо автоматика нагрева вышли из строя. В данном случае придётся поменять сломавшуюся электронику, что рекомендуется делать в сервисном центре.
Как выполнить демонтаж и разборку посудомойки?
Снятие посудомоечной машины и её разборка должны производиться в согласовании с аннотацией производителя.
Снятие фронтальной панели интегрированной посудомойки
Известные бренды предоставляют о выпускаемой технике более подробные данные, в т.ч. на российском языке. В других случаях для вас придётся выискать толковый метод действий в вебе, или довериться собственному техническому чутью – в конце концов, устройство посудомойки не является супер-сложным и разобраться в нём сумеет хоть какой, используя находчивость и нужный для работы инструмент.
Чёткое соблюдение режима эксплуатации понижает возможность поломки посудомойки как минимум в четыре раза. Потому сразу после установки Как видно изучите рабочие программы агрегата и доступно растолкуйте домочадцам, как им верно воспользоваться.